机械设计基础-表面粗糙度
2025-08-18 16:11:34
# 结构设计
金属加工件的表面是由无数细小的高低起伏所形成,将表面起伏的程度称为表面粗糙度。 常用单位为μm,粗糙度越小表面越光滑。
表面粗糙度对工件性能的影响
- 影响工件表面的光泽度和质感
- 影响疲劳强度
- 影响密封性
- 影响耐磨性能
- 影响配合的稳定性
- 影响测量精度
表面粗糙度的计算方式和标注方法
常用的表面粗糙度计算方式有Ra, Ry和Rz等。
表面粗糙度Ra
Ra粗糙度即算术平均粗糙度,表示在基准长度上粗糙度的绝对值的平均值。
Ra 是最常用的描述表面粗糙度的方式,能够反映出表面整体的粗糙程度,数值越小,表示表面越光滑。但 Ra 较难强调表面局部特征,难以通过Ra数值判断加工零件表面是否存在较为突出或凹陷的峰或谷。

表面粗糙度Rz
Rz粗糙度也叫十点平均粗糙度,是在指定的长度L内,取最大的5个波峰平均值和最大的5个波谷平均值的总和。
Rz粗糙度可以反映出工件表面较为突出或凹陷的峰或谷。

表面粗糙度Ry
Ry 粗糙度又称为最大粗糙度,是在取样长度内,取最高峰值点(Rp)和最低谷值点(Rv)的距离。
Ry 能直接反映出一个表面上最大的高度差,但不能表示表面整体的平均粗糙度。

表面粗糙度的标注
表面粗糙度符号


表面粗糙度标注规则:
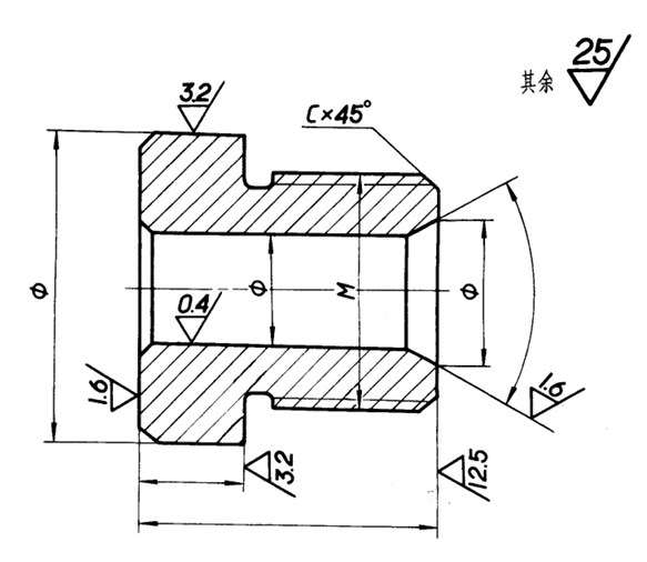
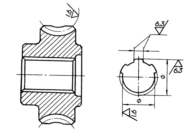
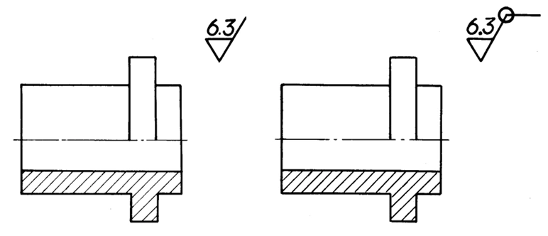
- 在工程制图中,表面粗糙度符号应标注在可见轮廓线、尺寸线、尺寸界线或他们的延长线上。符号的尖端必须从材料外指向材料表面;
- 当零件的大部分表面具有相同的表面粗糙度要求时,注在图样的右上角并加注其余两字:

- 当地位狭小或不便标注时符号代号可以引出标注:

- 当零件所有表面具有相同的表面粗糙度要求时,其符号代号可在图样的右上角统一标注:

粗糙度等级的选用原则
- 在保证零件满足使用条件的前提下,尽量选用较大的粗糙度值;
- 工作表面比非工作表面的粗糙度要小,如检测平台;
- 摩擦表面比不摩擦表面的粗糙度小;
- 间隙配合比过盈配合的粗糙度小,间隙越小粗糙度越小;
- 配合面与尺寸精度要求相当,同一精度等级,小尺寸比大尺寸的粗糙度小,轴比孔粗糙度小;
- 受周期性载荷的表面及可能会发生应力集中的内圆角、凹槽处粗糙度要小
不同加工方法可获得的粗糙度

一些常见工况下的推荐值
- Ra6.3 —— 键槽底部、不重要的配合面、非外观面等
- Ra3.2 —— 配合面和外观面、镀铬表面等
- Ra1.6 —— 轴承位、导轨靠边、安装面、重要的配合面、与产品直接接触面等
- “其余”粗糙度 ——
- Ra25 —— 毛坯料
- Ra12.5 —— 激光切割料边缘
- Ra6.3 —— 一般的板类
- Ra3.2 —— 轴类
表面粗糙度的检测
粗糙度仪
用于测量目标物表面粗糙度的仪器,分为触针式及光学式。
对照法
通过视、触觉对比粗糙度样块获得大致的粗糙度等级。
